8月23日,或许会是影像圈中的一个里程碑,也是尼康光学百年来的一个新里程碑:尼康首款全画幅无反即将登场。在行业内一致认为“无反光镜相机是未来主流”的背景下,尼康的全画幅无反相机将会决定尼康光学的命运。
不得不承认,尼康的保密工作确实做得不错,在今天之前,几乎没有任何渲染图、配置参数图泄露,这款“壮士断腕”之作依然有着十足的神秘感。然而,在今天早上,尼康的防线终于被攻破,网友曝光了尼康全画幅无反Z6和Z7的渲染图,这两款产品的外观也被提前尘埃落定。
从设计上来看,除了机身右下角的命名标记外,我们很难在两款中找出什么设计上的不同。简单说,尼康Z6/Z7两款产品的设计有一部分延续于尼康的单反相机,巨大的手柄让人印象深刻。
同时,从机顶来看,尼康Z6/Z7两款产品都加入了富士相机式的肩屏,且肩屏面积非常巨大,可以显示的内容也很多。尼康Z6/Z7机身上共有两个参数波轮,一个模式转盘,另外还加入了对焦摇杆,可以看出机身定位是比较高级的。
尼康Z6/Z7还配备了一块类似于D750的翻折屏,虽然可以提供给使用者低角度取景的可能性,但屏幕不能轴向旋转,可动角度不如佳能单反,持平索尼微单。
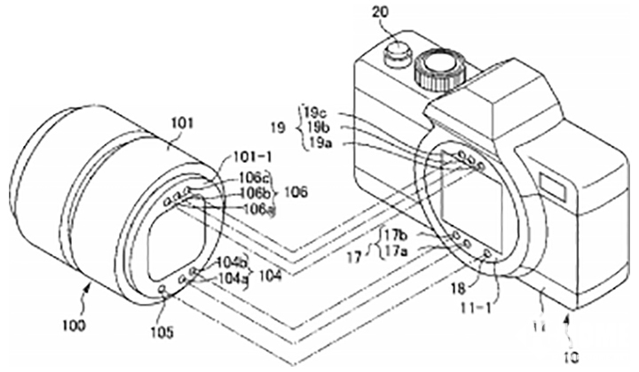
尼康全画幅无反最大的特色,就是巨大的镜头卡口。Z6/Z7也是首款支持尼康Z卡口的相机,相机卡口的外直径达到了惊人的56mm,而且该卡口镜头法兰距只有16mm,均要优于索尼的E卡口。
(尼康Z卡口专利)
更大的卡口直径和更短的法兰距,意味着尼康Z卡口镜头的光圈可以做得更大,光学素质可以更出色。
尼康两款新相机的具体参数暂时还没有泄露,但据传Z6像素为2000万级别,售价在14000元左右;尼康Z7像素为4000万级别,售价在17000元左右。由此可见,尼康两款新产品的主要对手是索尼A73和A7R3,定位较为高端。
刚迈过百年寿辰的尼康,能否凭借两款全画幅无反焕发新生?明天我们就可以知道答案。